
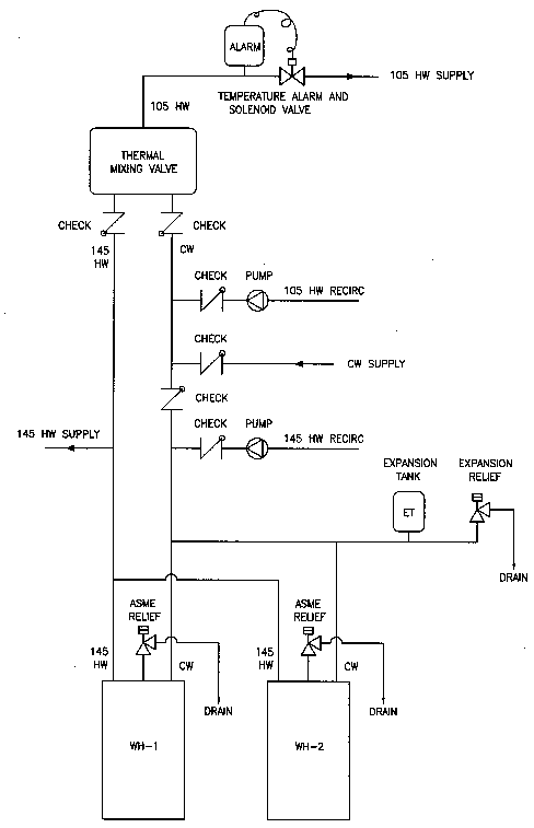
Hot Water System Diagram 1

This is a proposed diagram for hot water in a health care facility.
There are other ways to meet the same objectives, and probably better ways, but this is a "conventional" method. Some of the features are:
Two water heaters, in case one fails the other one is ready to take over.
A higher hot water temperature circuit for dishwashing and possibly laundry. (should be 180 degrees.)
A lower hot water temperature circuit for handwashing, showers and miscellaneous use.
Both hot water circuits are in fact circuits, with circulating pumps, to keep hot water moving out into the pipes when no one is using hot water, reducing the time it takes to receive hot water when someone does turn on their faucet.
A thermal mixing valve (expensive!).
A high temperature alarm and shutdown valve.